|
Wielofunkcyjny przekaźnik czasowy T 110 s |
 |
|
Kategoria: Przekaźnik czasowy
Obudowa do montażu na szynie (1 moduł)
Pobierz instrukcję
T 110 s

Cena netto: 99,- PLN |
|
|
|
|
|
 |
 |
|
Przewaga przekaźników wielofunkcyjnych nad jednofunkcyjnymi widoczna
jest szczególnie w złożonych układach automatyki, ponieważ ogranicza
asortyment stosowanych modułów, przez co minimalizuje koszty utrzymania
ruchu. Wystarczy jeden przekaźnik zapasowy, którym można zastąpić
dowolny uszkodzony.
|
|
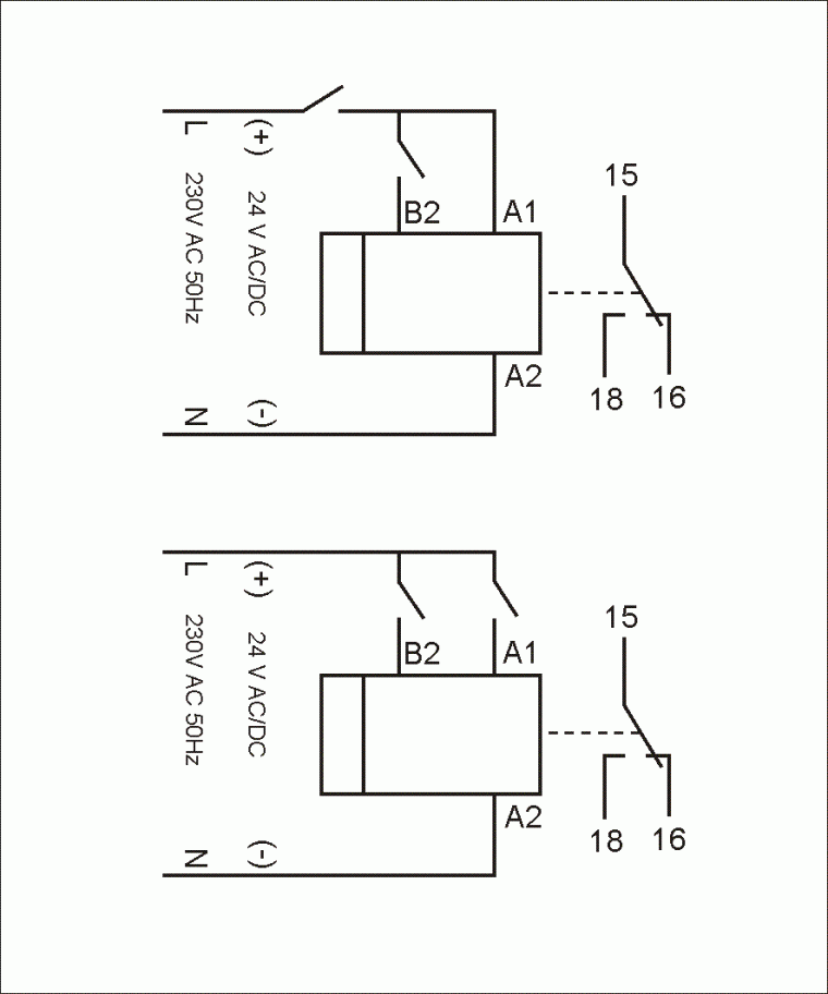
Funkcje
1. Opóźnione załączenie
1.1. wyzwalanie zasilaniem
1.2. wyzwalanie wejściem sterującym B2
2. Impuls o długości T wyzwalany zboczem narastającym A1 lub B2
2.1. wyzwalany zasilaniem
2.2. wyzwalany wejściem sterującym B2 (formowanie impulsów)
3. Impuls o długości T wyzwalany zboczem opadającym B2
4. Impuls o długości T wyzwalany zmianą stanu B2
5. Impuls o długości 0,5 s opóźniony o czas T
5.1. wyzwalany zasilaniem
5.2. wyzwalany wejściem sterującym B2
6. Opóźnione odpadanie retrygowalne
7. Opóźnione odpadanie nieretrygowalne
8. Impulsator symetryczny o okresie 2T
8.1. start od przerwy
8.2. start od impulsu
Zakresy czasu:
0,1 ÷ 1,2 s; 1 ÷ 12 s; 10 ÷ 120 s
1 ÷ 12 min; 10 ÷ 120 min
1 ÷ 12 h; 10 ÷ 120 h |